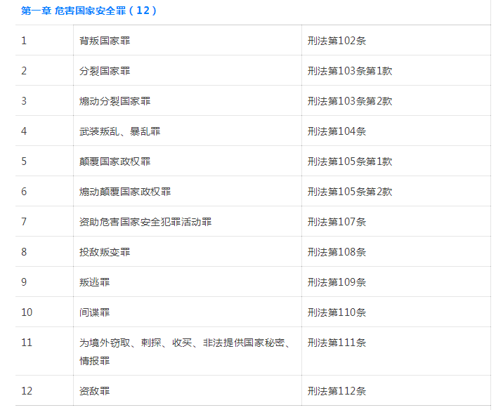
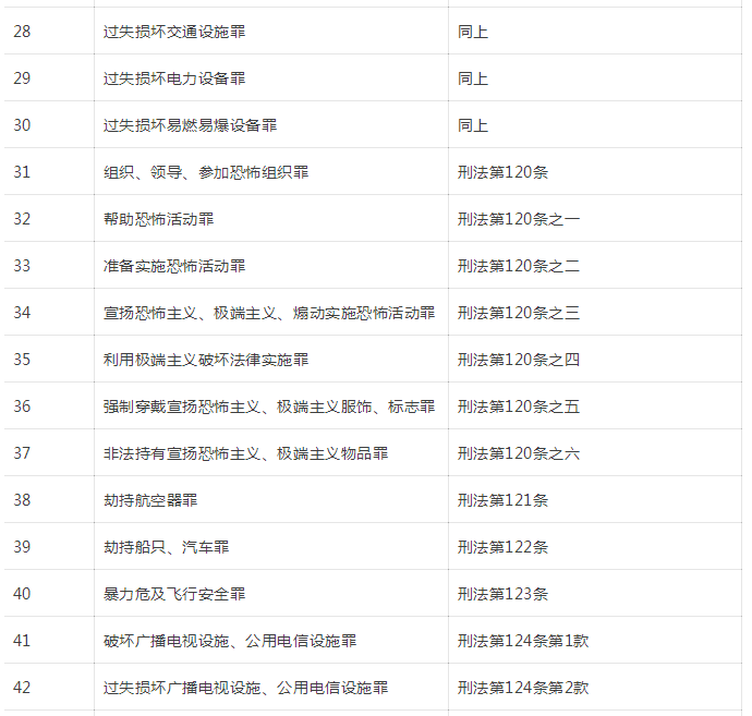
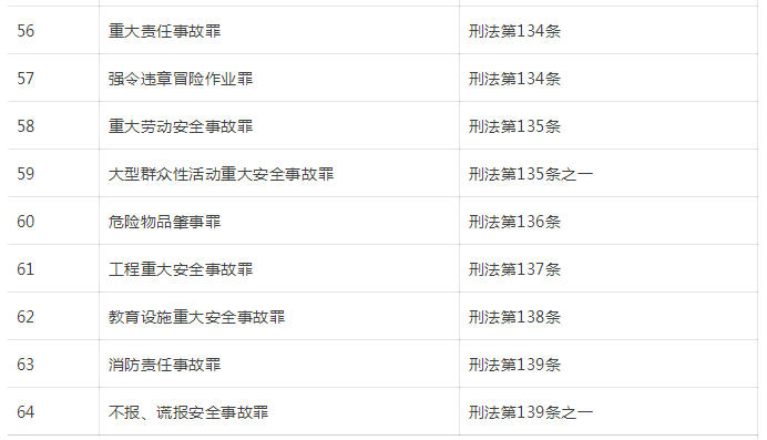
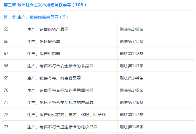
刑法是規定犯罪、刑事責任和刑罰的法律,是掌握政權的統治階級為了維護本階級政治上的統治和經濟上的利益,根據其階級意志,規定哪些行為是犯罪并應當負何種刑事責任,給予犯罪人何種刑事處罰的法律。修訂刑法施行后,1997年12月25日最高人民檢察院發布《關于適用刑法分則規定的犯罪的罪名的意見》,共確定了414個罪名,下面一起跟萬垚律師顧問刑法罪名一覽表2020版。






經過萬垚律師顧問的介紹刑法罪名一覽表2020版,大家對中國刑法一共有多少條有了個大概的了解,對于以上罪名的描述,大家要加以理解并隨時規范自己,提醒自己什么該做什么不該做,一定要冷靜處理自己所面對的問題,需要幫助的時候可以向法律申請援助,切勿麻痹自己破罐破摔。
Copyright © 河北萬垚律師事務所